Что такое сварка? Виды, оборудование, расходники. Простым языком!
Просмотров: 26
Приветствую дорогой друг на на нашей общей Территории сварки. Из этой статьи вы узнаете что такое сварка. А так же, о всех известных видах сварки, оборудовании, инструменте и расходных материалах. Обещаем рассказывать просто и понятно каждому! Ну что, погнали?
Кстати, сваркой называют не только соединение металлов. Существует так же сварка стекла, пластика, керамических материалов и других…

Что такое сварка? Определение.
Что такое сварка? Во-первых, это процесс, во время которого образуются неразъемные соединения металла. Во время его нагрева одним из способом(местный или общий, трение), а так же, методом деформации — металлы соединяются на молекулярном уровне, что и обеспечивает неразъемность сварного соединения.
Во время процесса сварки всегда возникает неразъемное, не разборное соединение.
Классы (группы) видов сварки
Сварку можно разделить на три основные группы или класса. Простыми словами, выделяются три большие группы, в которые входят виды сварки. Которые различаются по способу защиты процесса сварки от воздействия внешней среды( воздуха), а так же, по особенностям техники, методам управления и самого материала. Три основные группы по способу влияния на металл:
- Термическая — способ воздействия на свариваемый металл путем расплавления основного металла и присадочного. Во время процесса происходит смешивание основного металла и присадочного, в связи с чем, образуется неразъемное сварное соединение.
- Механическая — класс включает в себя виды воздействия на свариваемый металл наружным давлением. Целью этого процесса является сжать необходимый металл друг с другом так, что бы произошло соединение на молекулярном уровне.
- Комбинированная — объединение двух только что рассмотренных класса. То есть, металл могут предварительно нагреть, затем воздействовать на него внешним давлением до образования неразъемного соединения.
Термическая группа

Группа сварки, в которую входят виды, характеризующиеся образованием сварочной ванны во время процесса сварки. Сварочная ванна образуется в связи с выделением тепла источником и является смесью расплавленных металлов — основного и присадочного. Присадочным может выступать — электрод, металлический пруток. А источником тепла служит сварочная дуга, образующаяся в связи с замыканием электрического проводника или горением горючего газа, а так же, термит(смесь горючих реагентов) и сконцентрированный поток световых лучей.
Газовая
Газовая сварка — при которой источником тепла выступает пламя. Как правило, используется пропан или ацетилен, обязательно в совокупности с кислородом. Газовая сварка не зависит от питания от электрической сети, по этому, её можно использовать в поле и других местах, где отсутствует электроэнергия.
Основная схема газовой сваркиПри газовой сварке нагрев свариваемых металлов происходит более плавно, проще говоря медленно. По этому, как правило, данную сварку применяют для работы с тонким металлом, а так же, цветными. Выполняют так же наплавку. При газовой сварке используется присадочный пруток, которым заполняют стык свариваемого соединения.
Электродуговая
Самая распространенная сварка — электродуговая. Во время процесса сварка кромки свариваемых металлов расплавляют с помощью электрической дуги. Которая, в своё время, возникает в связи с замыканием проводника (электрод или проволока). Такую сварку можно разделить на несколько подгруппы:
Принцип работы электродуговой сварки схематично- Плавящимся электродов. Ручна дуговая сварка плавящимся электродом. Во время этой сварки расплавляется металл электрической дуги, которая горит между электродом и основным металлом. Плавятся кромки основного металла и сам плавящийся электрод. В процессе такой сварки, происходит смешивание основного металла с присадочным(электрод), в связи с чем и образуется сварочный шов. Плавящиеся электроды выполняются в специальной обмазке. При расплавлении которой выделяются газы, которые и служат защитой сварочной ванны от воздействия внешней среды. Самое вредное для сварочной ванны во внешней среде является — кислород.
- Не плавящимся электродов. Такую сварку еще называют аргонодуговой. Во время которой, сварочная дуга горит между неплавящимся электродом(угольный, вольфрамовый). В качестве присадочного металла используют специальный присадочный пруток. А сварочную ванну защищает инертный газ, я его называю защитный. Таким газом может выступать — аргон, углекислый газ, гелий или их смеси.
- С использованием сварочной проволоки. Данный вид сварки, как правило — полуавтоматический. Сварочная дуга горит между подаваемой, в полуавтоматическом режиме, сварочной проволоки. Она и служит присадочным металлом. В качестве защиты сварочной ванны выступает инертный газ, как правило углекислый газ или аргон, а так же их смеси. Поступает проволока и газ в область сварки после нажатия на кнопку на специальном «держаке».
Лучевая
Как правило, данный вид сварки используют для маленьких(микро) деталей. Радио детали, электронные схемы. Суть сварки заключается в создании светового луча или луча электронов. И в том и другом случае, главное сконцентрировать луч непосредственно в области сварки. Что бы луч не рассеивался из за плотности воздуха, такую сварку производят в специальных камерах, где обеспечивают вакуумную среду.
Схематичная демонстрация лучевой сваркиПреимущество такой сварки заключается в том, что её можно использовать для микро-деталей, чем не похвастается другая сварка. А так же, в процессе сварки практически не нагревается околошовная зона. В случае, когда необходимо произвести сварку в труднодоступном месте, прибегают к помощи специальных призм, которыми и направляют луч в необходимое место.
Фотография оборудования для лучевой сваркиЭлектрошлаковая
Данным способом сварки, ка кправило пользуются для работы с толстым металлом, в вертикальных швах. Источником тепла, в основном процессе служит флюс. Он выделяет достаточное количества теплоты для плавления кромок основного металла и присадочной проволоки. А нагревается флюс под воздействием электричества, которое через него проходит.
Схематично процесс электрошлаковой сваркиДля начала процесса такой сварки, зажигают электрическую дугу, которая начинает плавить флюс. В расплавленном состоянии флюс, становится токопроводящим, что позволяет пропускать через него ток, который его разогревает. В это время начинается процесс плавления кромок основного металла и присадочной проволоки.
Термитная
В процессе термитной сварки используют термит — специальная смесь, состоящая из алюминия, магния и металлической окалины. Задачей данной смеси является расплавление основного металла. Так как температура горения этой смеси достигает 2700 градусов, она легко справляется со своей задачей.
Сварочное оборудование — что это такое, виды оборудования для сварки, где применяется в википедии строительного инструмента
Сварочное оборудование — что это такое, виды, особенности
Сварка металлов применяется во многих отраслях промышленности, строительстве и даже в решении мелких бытовых вопросов. Чтобы сделать ровный шов, необходимо обладать навыками и оборудованием.
Сварочное оборудование – это все то, что необходимо сварщику для работы. Это и особые сварные устройства, и защитные элементы, и расходные материалы. Применяя все это, можно соединить большую часть металлов на молекулярном уровне. Конечное изделие получается прочным, и будет служить долго.
От типа сварного аппарата зависит технология сварки, которой должен владеть работник. Выбор способа сварки зависит от поставленной задачи.

Виды сварочного оборудования
Специалисты используют механизмы следующих разновидностей:
- Сварочные трансформаторы. Своеобразная классика среди сварочных аппаратов. Трансформатор – надежный и простой прибор. Работая им, можно соединять толстые стальные листы, ведь силы сварочного тока трансформатора для таких целей вполне достаточно. Трансформатор преобразуется напряжение сети в низкое. Сейчас инверторы встречаются намного чаще, чем трансформаторы. Тем не менее, бывалые сварщики по-прежнему ценят трансформаторы. Это оборудование используется для ручной дуговой сварки с электродами. Большой вес и немалые габариты, из-за которых с перемещением возникнут сложности, считаюся недостатками. Неопытные сварщики могут также столкнуться с нестабильным горением дуги.
- Сварочный инвертор. Сварочный аппарат нового поколения, с которым могут работать сварщики-новички. Компактность, много параметров и хороший выбор агрегатов на рынке — вот основные достоинства инвертора. Инверторы, которые предназначены для сварки в среде защитных газов, называют полуавтоматами. Функции «форсаж дуги», «горячий старт» и «антизалипание» есть почти во всех современных инверторах.
- Сварочные генераторы. Инвертором можно осуществить несложный ремонт и быстро приварить небольшую деталь, но без электроэнергии он полностью бесполезен. Бензиновый или дизельный генератор решает эту задачу, обеспечивая автономное электроснабжение, что актуально при строительных работах в той местности, где нет электрической сети. А сварочный агрегат – это генератор и сварочный аппарат в одном корпусе. То есть, для работы с оборудованием сварки необязательно наличие электросети. Прибор работает на одном топливе. Он недорогой и компактный, к тому же качество швов, получаемых при использование генераторов достаточно высокое. Но чтобы использовать аппарат в полной мере, потребуется купить выпрямитель.
- Сварочные выпрямители. Оборудование называют классикой сварного дела наравне с трансформаторами. Выпрямители преобразовывают переменный ток в постоянный, который затем используется для создания сварного шва. В этом и есть их особенность. Обычно оборудование такого типа состоит из силовой части и выпрямительного блока, а также защитных, пусковых и регулировочных элементов.
- Сварочные автоматы дуговой сварки. Достоинство выпрямителей – надежность и мощность. Отсутствие электроники снижает вероятность поломок. При желании такой аппарат можно собрать в домашних условиях.
- Сварочные автоматы. Автоматика позволяет значительно уменьшить трудовые затраты. Автомат также помогает работнику контролировать правильность создания шва. Электроды при автоматической сварке не требуются, вместо них используется присадочная проволока, которая подается автоматически в рабочую область.
Сварочные выпрямители

Принцип работы выпрямителей несложен. Сперва устройства снижает напряжение сети 380В до напряжения холостого хода, потом преобразует переменный ток в постоянный. Контролируемый сварочный ток может быть использован во время сварочных работ.
Главное отличие выпрямителя от трансформатора: первый использует для создания сварного шва постоянный ток, а трансформатор переменный. В остальных аспект оба вида сварочного оборудования можно назвать похожими. Некоторые сварщики даже утверждают, что выпрямитель – тот же трансформатор, только в применении более прост.
В умелых руках дуга горит стабильно, что дает возможность делать ровные и аккуратные соединения. Большинство сварочных технологий могут быть использованы с выпрямителями: MMA, TIG, MIG или MAG. Еще один плюс – возможность, используя лишь один выпрямитель, создать несколько сварочных постов, что позволит одновременно работать нескольким специалистам.
Тем не менее, у выпрямителей можно выделить три существенных недостатка:
- Большой вес. Это часто не позволяет перемещать оборудование самостоятельно.
- Высокая стоимость дополнительных элементов. Сам выпрямитель стоит не очень много, но полный комплект всего необходимого оборудования может обойтись в немалую сумму. Также необходимо приготовиться к высоким затратам электроэнергии.
- Необходимость наличия определенной сноровки работника. Новичкам будет не очень комфортно работать с таким аппаратом, но зато после постоянной практики с выпрямителем начинающий специалист совладеет с любым сварным оборудованием.
Лучший выбор для домашнего пользования. Чаще всего они также оснащаются функциям подзарядки аккумулятора автомобиля. Иногда в комплектации встречаются приспособления для подачи проволоки, которая требуется при сварке MIG/MAG (полуавтомат). Такие приспособления для сварки не потребуют много электроэнергии. Они очень практичны. У таких аппаратов обычно есть три режима работы:
- Зарядка аккумуляторов (АКБ). Напряжение 12 или 24 В.
- Запуск автомобильного двигателя. Максимальный пусковой ток составляет 250 А для 12 В и 200 А для 24 В.
- Сварка. Ток регулируется от 30 до 180 А, коэффициент прерывистости работы современных сварочников измеряется в процентах. То есть коэффициент, равный 60%, означает, что дуга будет непрерывно гореть 6 минут из 10.
Большая часть сварочного оборудования имеет защиту от перегрузки и цифровые амперметры.
Как сделать сварочный трансформатор своими руками. Как рассчитать, намотка. Самодельный аппарат дуговой или контактной сварки

Если приобрести готовое заводское оборудование не получается, собрать сварочный аппарат можно и своими руками.
Трансформатор можно намотать и своими руками. Он представляет собой две индуктивно связанные обмотки: первичную и вторичную. Они размещаются в сердечнике из электротехнической стали, который служит магнитопроводом.
Как правило, самодельные агрегаты рассчитаны на силу тока в промежутке от 150 до 170 А. Они выдерживают напряжение в районе 50 В. Для бытовых нужд этих показателей более, чем достаточно. Если необходимы красивые ровные швы, лучше всего использовать электрода диаметром до 3 мм. Если хочется применять 4-мм и толще, то лучше собрать аппарат мощнее, ведь об аккуратных швах придется забыть.
Сердечник трансформатора собирается из пластин электротехнической стали толщиной от 0,35 до 0,55 мм. Пластины должны быть Г-образными. Они накладывают друг на друга, пока не будет получен сердечник нужной толщины. После этого его необходимо изолировать и можно приступать к созданию намотки.
Первичная намотка – 210 витков, вторичная – в районе 70. Закрепляются концы обмотки текстолитовой пластиной.
Сварочный трансформатор: устройство и принцип действия

Классический трансформатор состоит из:
- Первичной обмотки из изолированных проводов, на которые поступает электричество из сети.
- Вторичной неизолированной обмотки.
- Сердечника (замкнутого магнитопровода).
- Система подвеса элементов трансформатора.
- Система управления, контролирующая расположение обмоток и величину воздушного зазора между ними.
- Винт управления воздушным зазором.
- Рукоять управления винтом.
Сердечник трансформатора обеспечивает непосредственно трансформацию напряжения из сети до нужного уровня. Когда устройство подключается к сети, электричество сначала попадает на первичную обмотку, где создается магнитное поле за счет определенно размещенных витков. Далее, с учетом рассеивания, поле передается на вторичную обмотку, с витками, количество которых отличается. Расстояние между намотками определяет уровень напряжения: чем дальше они расположены, тем оно ниже. Так как вторичная обмотка одним концом выходит на электродержатель, туда подается уже необходимое напряжение.
Что выбрать: сварочный трансформатор или сварочный инвертор

Варить трансформатором намного сложнее, чем инвертором. Перейти с первого на второй элементарно, а вот освоить классику сварного оборудования начинающему сварщику будет трудно.
Цена аппарата также важна, как и цель, с которой он покупается. Трансформатор обойдется значительно дешевле инвертора. Выпрямитель не подойдет для домашнего пользования, а мощности сварочного аппарата с аккумулятором может быть недостаточно для организации работ на строительной площадке.
Выпрямители сварочные

Напряжения в домашних сетях 220В будет недостаточно выпрямителю. Для правильной работы большинства функций необходимо 380В (трехвазная промышленная электросеть). Это существенный недостаток выпрямителей.
Любому сварщику необходимо уметь правильно зажигать дугу. У выпрямителей нет функции, вроде форсажа дуги и горячего старта, поэтому начинающие сварщики могут не сразу совладать с выпрямителем.
Ремонт сварочного инвертора своими руками

Оборудование сварщика не застраховано от сбоев. Отремонтировать электронную плату управления инвертора сможет далеко не каждый. Также перед тем, как приступать к ремонту, обязательно определить настоящую причину поломки.
Бывает, что из строя выходят диодные мосты, транзисторы и другие микросхемы. Чтобы своими силами решить такую проблему, потребуются знания особенностей расположения элементов микросхемы.
Summary

Article Name
Сварочное оборудование — что это такое, виды оборудования для сварки, где применяется
Description
✅Виды сварочного оборудования ➜— ✅Сварочные выпрямители ➜— ✅Что выбрать: сварочный трансформатор или сварочный инвертор ➜— ✅Ремонт сварочного инвертора своими руками.
Author
Сарычев Александр Викторович — судебный строительно-технический эксперт, кандидат технических наук
Publisher Name
Википедия строительного инструмента
Publisher Logo

Поделиться новостью в соцсетях
« Предыдущая запись
Следующая запись »сварочный аппарат — это… Что такое сварочный аппарат?
- сварочный аппарат
3.2 сварочный аппарат: Аппарат, выдающий выходные параметры сварки по напряжению или току и времени или энергии, необходимые для выполнения цикла сварки в режимах, установленных производителем электросварного фитинга.
Примечание — Сварочные аппараты классифицируются в зависимости от электрических характеристик и характеристик процесса. Различные типы аппаратов приведены в 3.2.1 — 3.2.5.
Смотри также родственные термины:
3. Сварочный аппарат МСМ-1 (ПСП-15)
Предназначен для сварки полимерных пленок Т-образным швом при двустороннем контактном нагреве. Автоматический режим работы и конструкция установки обеспечивают получение непрерывного шва.
Техническая характеристика
Напряжение питания, В…………………………………………………………………………………….
220
Потребляемая мощность, Вт…………………………………………………………………………..
250
Суммарная толщина свариваемых пленок, мм…………………………………………………
1,0
Скорость сварки, м/мин…………………………………………………………………………………..
До 2,5
Габариты, мм:
длина……………………………………………………………………………………………………….
380
ширина…………………………………………………………………………………………………….
170
высота…………………………………………………………………………………………………….
124
Масса, без пульта управления, кг…………………………………………………………………….
4,66
Словарь-справочник терминов нормативно-технической документации. academic.ru. 2015.
- Сварочный агрегат
- Сварочный аппарат МСМ-1 (ПСП-15)
Смотреть что такое «сварочный аппарат» в других словарях:
сварочный аппарат — сварочная установка — [Я.Н.Лугинский, М.С.Фези Жилинская, Ю.С.Кабиров. Англо русский словарь по электротехнике и электроэнергетике, Москва, 1999 г.] Тематики электротехника, основные понятия Синонимы сварочная установка EN welder … Справочник технического переводчика
сварочный аппарат — suvirinimo aparatas statusas T sritis radioelektronika atitikmenys: angl. welding apparatus; welding set vok. Schweißaggregat, n rus. сварочный агрегат, m; сварочный аппарат, m pranc. appareil, m … Radioelektronikos terminų žodynas
сварочный аппарат — suvirinimo aparatas statusas T sritis automatika atitikmenys: angl. welder; welding apparatus; welding set; welding unit vok. Schweißmaschine, f rus. сварочный аппарат, m pranc. appareil à souder, m; appareil de soudage, m; machine à souder, f;… … Automatikos terminų žodynas
Сварочный аппарат МСМ-1 (ПСП-15) — 3. Сварочный аппарат МСМ 1 (ПСП 15) Предназначен для сварки полимерных пленок Т образным швом при двустороннем контактном нагреве. Автоматический режим работы и конструкция установки обеспечивают получение непрерывного шва. Техническая… … Словарь-справочник терминов нормативно-технической документации
автогенный сварочный аппарат — — [http://slovarionline.ru/anglo russkiy slovar neftegazovoy promyishlennosti/] Тематики нефтегазовая промышленность EN acetylene welding outfit … Справочник технического переводчика
Сварочный инвертор — Сварочный инвертор это один из видов источника питания сварочной дуги. Основной принцип действия всех сварочных источников обеспечивать стабильное горение сварочной дуги и ее легкий поджиг. Одним из самых важных параметров сварочного… … Википедия
аппарат — а, м. 1) Прибор, техническое устройство, приспособление, предназначенное для выполнения определенной работы под наблюдением человека. Телефонный аппарат. Рентгеновский аппарат. Сварочный аппарат. 2) Совокупность учреждений, организаций,… … Популярный словарь русского языка
сварочный агрегат — suvirinimo aparatas statusas T sritis radioelektronika atitikmenys: angl. welding apparatus; welding set vok. Schweißaggregat, n rus. сварочный агрегат, m; сварочный аппарат, m pranc. appareil, m … Radioelektronikos terminų žodynas
Сварочный агрегат — автономная установка для сварки и резки электродуговой сваркой. Агрегат состоит из основных элементов двигателя внутреннего сгорания и сварочного генератора для выработки сварочного тока. Кроме основных, большинство агрегатов имеют множество… … Википедия
сварочный зубопротезный аппарат — Ндп. аппарат для точечной электросварки стальных мостовидных и бюгельных протезов [ГОСТ 26322 84] Тематики оборудование стоматологическое EN dental welder DE zahntechnisches Schweißgerät FR appareil à souder … Справочник технического переводчика
Книги
- Сварочный аппарат своими руками, И.Д. Зубаль. Рассмотрены особенности физических процессов при сварке постоянным и переменным током, приведены методики расчета сварочных трансформаторов, дано описание их практических конструкций и… Подробнее Купить за 672 грн (только Украина)
- Сварочный аппарат своими руками, Зубаль И.Д.. Рассмотрены особенности физических процессов при сварке постоянным и переменным током, приведены методики расчета сварочных трансформаторов, дано описание их практических конструкций и… Подробнее Купить за 508 руб
- Косово поле. Россия, Дмитрий Черкасов. «Двое рабочих взгромоздили на деревянные козлы железную решетку, сваренную из арматуры толщиной в палец, и подтащили поближе сварочный аппарат. Один работяга, заглянув в темноту колодца,… Подробнее Купить за 220 руб
Сварочный аппарат – что это такое, устройство, основные виды и их характеристика

Сварка, как вид соединения металлических элементов, получила массовое распространение более века назад. Ее применяют во многих сферах, создавая разные изделия, начиная с микросхем до гигантских конструкций. В любом случае на помощь приходит сварочный аппарат, который сегодня выпускают в ассортименте.
Что такое сварочный аппарат?
Изделие представляет собой электрическое устройство, при помощи которого выполняется долговечное и надежное соединение металлических элементов. Сварочный аппарат инвертор или другого типа используется в разных областях, начиная от микроэлектроники и заканчивая строительством. Среди достоинств выделяют надежность и быстроту соединение материалов при минимальных затратах времени и сил.
Устройство сварочного аппарата
До недавнего времени агрегат был очень простым по схеме работы, но современные модели дополнены электроникой, что повысило функциональность. Внутренняя начинка сварочного источника определяется принципом работы устройства. Силовой блок, отвечающий за изменение тока, состоит из таких деталей:
- Сетевой выпрямитель. Занимает много места на основной плате оборудования. Исключение перегрева возможно благодаря наличию диодного моста, закрепленного на охлаждающем радиаторе.
- Помеховый фильтр. Используется для подавления электромагнитных помех оказывающих воздействие на электросеть. Состоит из дросселя, размещенного на магнитной катушке.
- Инвертор. Его конструируют из транзисторов, некоторые из которых крепят на радиатор для охлаждения. Для сохранения их от опасного прыжка напряжения устанавливают демпфирующие цепи.
- Выходной выпрямитель. Создан из мощных диодов. Чтобы избежать перегрева устройства, быстродействующие диоды закрепляют на радиаторе.
- Пусковая схема. Состоит из компонентов силового блока. Питание из основного выпрямителя подается к стабилизатору, а потом на управляющую схему через последовательно включенные резисторы. Выпрямленный ток используется для работы вентилятора охлаждения и индикаторов света на панели прибора. Дополнительный компонент данного узла – реле плавного пуска. С его помощью ограничиваются пусковые токи при включении сварочного аппарата.
Управляющий блок состоит из ШИМ-контроллера, координирующего работу всех транзисторов. Он выглядит как микросхема управляющая аппаратом. Помимо этого он производит контроль входного напряжения и параметров сварочного тока. В случае появления неполадок срабатывает защита и как следствие блокировка аппарата. Управляющий блок используется в процессе ручной регулировки силы тока, делают это с помощью вращения ручки резистора. На тех моделях, которые рассчитаны на несколько разновидностей сварки, присутствует переключатель режимов.

Виды сварочных аппаратов
В настоящее время ни одно строительство или крупная мастерская не обходится без применения устройства для соединения разных металлических элементов. Современный аппарат для сварки разделяется на следующие основные типы:
- трансформаторы;
- выпрямители;
- инверторы.
Помимо этого разделение происходит и на такие подтипы:
- полуавтоматы;
- генераторы;
- прочие аппараты промышленного назначения.
Трансформаторы
Это устройство, превращающее переменное напряжение входной сети в постоянное напряжение для электросварки. Сила тока в нем регулируется с помощью изменения индуктивного сопротивления цепи или с помощью фазного регулирования. Такой сварочный аппарат для дома и других мест имеет следующие достоинства:
- сравнительно высокий КПД до 90%;
- простота эксплуатации;
- надежность и дешевизна.
К недостаткам можно отнести:
- низкую стабильность горения дуги;
- потребность в специальных электродах;
- колебания входного напряжения;
- запрет на сварку нержавеющей стали и цветного металла;
- большой вес изделия.

Выпрямители
Это следующее поколение агрегатов после трансформаторов. Силовая их часть состоит из трансформатора, выпрямленного блока и сглаживающего дросселя. Данная техника для сварки наделена такими достоинствами:
- использование постоянного тока;
- качественный шов;
- создание меньшего количества брызг;
- возможность сварки нержавеющей стали.
Среди недостатков выпрямителей можно выделить:
- относительно большой вес;
- потерю части мощности;
- сильную «просадку» напряжения в сети при его работе.

Полуавтоматы
Устройство представляет собой агрегат для сварки в среде защитных газов с механизированной подачей проволоки. По конструкции полуавтоматический сварочный аппарат разделяется на: двухкорпусный или однокорпусный. Его применяют в газовой сфере. К достоинствам можно отнести:
- легкость сварки тонкого металла;
- качественный шов;
- большое количество настроек и регулировок;
- высокую производительность.
Среди недостатков выделяют следующие моменты:
- высокая стоимость оборудования;
- для подключения нужна трехфазная сеть;
- запрет на работу на улице.

Инверторы
Представляет собой устройство, в котором происходит преобразование постоянного тока в переменный. Сварочный инвертор наделен следующими достоинствами:
- небольшой вес и размеры;
- большая частота напряжения;
- КПД 95%;
- идеальный коэффициент мощности;
- нет надобности в частых охлаждениях;
- плавная регулировка режимов;
- широкий диапазон токов;
- можно применять при больших падениях напряжения.
Инверторный источник сварочного тока ИИСТ и других моделей имеет такие недостатки:
- высокая цена;
- повышенные требования к условиям хранения.

Генераторы
Это прибор, сочетающий в себе сварочный аппарат и полноценный генератор. Главная классификация производится по виду потребляемого топлива. Сварочный аппарат для дома и дачи помимо основного предназначения может использоваться для электроснабжения помещения. К достоинствам можно отнести:
- более устойчивое горение дуги;
- высокое качество сварки;
- возможность использования разных электродов;
- меньшую чувствительность к перепадам напряжения.
Среди недостатков выделяют:
- наличие частей требующих наблюдения оператора;
- важность периодического ремонта;
- низкий КПД;
- высокую стоимость.

Аппараты для аргонодуговой сварки
Сложное оборудование с большим количеством настроек. Такая сварка – процесс, производимый электрической дугой в атмосфере аргона. Инертный газ защищает обрабатываемую поверхность от воздействия кислорода. Сварочный инвертор для дома наделен следующими преимуществами:
- минимальное количество дефектов в швах;
- уменьшение деформации металла;
- исключение разбрызгивания металла;
- отсутствие шлака;
- возможность работы с разными металлами.
Среди недостатков выделяют:
- дороговизну оборудования;
- низкую производительность;
- потребность в сложных настройках.

Как выбрать сварочный аппарат?
Для уверенной покупки важно взвесить все «за» и «против», только в таком случае процесс принесет только удовольствие. Перед выбором сварочного аппарата нужно ответить на следующие вопросы:
- От какой сети будет производиться сварка? На производстве процесс будет происходить при 380 Вт, а дома при 220 Вт. Для того чтобы избежать проблем с техникой, рекомендуется приобрести сварочный аппарат в котором электроника управляется запитывающими сетями, это не даст аппарату работать до получения нормального питания.
- Какой металл будет соединяться? Для сварки чугуна или цветного металла нужно брать аппарат постоянного тока. Для более тонкого выбирают полуавтомат. Для материала толщиной больше 1 мм подойдет дешевый сварочный аппарат с обычными характеристиками.
- Какой толщины будет сварка? От желаемой глубины провара будет зависеть мощность агрегата. Толщина сварки постоянным током получается на 20% больше, чем переменным.
- Какая будет длительность сварки? Для продолжительной работы лучше выбрать аппарат с высокой продолжительностью включения, только так можно уберечь устройство от пиковых нагрузок и в итоге увеличить срок его работы.
- Какой вес сварочного аппарата нужен? Чем больше масса, тем лучше характеристики. Если предполагаются передвижения и простая работа, рекомендуется остановить выбор на сварочном инверторе ИИСТ. По мнению многих он для таких работ идеален.
Мощность сварочного аппарата
Этот показатель указывает, какую силу тока способно выдавать устройство и с какой толщиной металла он может работать. В паспорте, который идет к устройству написана информация о максимально потребляемой мощности, а также пиковые нагрузки и иные важные показатели. Прибор для сварки бытового назначения выдает до 250 А, а профессиональный от 300 А. Это нужно учитывать, выбирая агрегат для использования.
Рейтинг сварочных аппаратов
При наличии большого ассортимента на рынке и отсутствии опыта работы с этими устройствами очень трудно выбрать подходящий вариант. Профессионалы отдают предпочтение только проверенным моделям, которые зарекомендовали себя на протяжении долгого времени. Современный список лидеров выглядит следующим образом. Лучшие инверторы для ручной дуговой сварки:
- FUBAG IR 200;
- Wester MMA-VRD 200;
- сварочный аппарат Ресанта САИ-220;
- Eurolux IWM-190.




Лучшие сварочные инверторы-полуавтоматы:
- BLUEWELD Starmig 210 Dual Synergic;
- Aurora OVERMAN 180.


Лучшие универсальные сварочные аппараты инверторного типа:
Правила пользования сварочным аппаратом
Для выполнения работ некоторые принимают решение привлечь специалиста, хотя на самом деле в работе с таким оборудованием нет ничего сложного. Сварочный аппарат полуавтомат или другой модификации перед началом работы и во время нее требует соблюдения определенных правил. Перед началом работы:
- надевают спецодежду и защиту для лица;
- удаляют с рабочего места лишние предметы;
- проверяют исправность сварочной части аппарата;
- включают вентиляционную систему.
Во время проведения сварки:
- укладывают устойчиво деталь;
- на пламя можно смотреть только через защиту;
- огарки электродов выбрасывают в специальный ящик;
- во время кратковременных перерывов электрододержатель вешают на подставку;
- при наличии нагара на электроде, его очищают, предварительно отключив трансформатор.
Сварочное оборудование — это… Что такое Сварочное оборудование?
машины, аппараты и приспособления, необходимые для изготовления из заготовок сварных изделий. Комплекс технологически связанного между собой С. о. для выполнения сварочных работ при том или ином участии сварщика называется сварочным постом, установкой, а при объединении нескольких постов или установок — линией.
Существуют посты и установки для дуговой, контактной, газовой, электроннолучевой и других способов сварки (См. Сварка). К С. о. относят: сварочные аппараты и машины с источниками питания и устройствами для выполнения собственно процесса сварки; технологические приспособления для осуществления быстрой сборки деталей под сварку, удерживания их во время работы и предотвращения или уменьшения коробления свариваемого изделия; вспомогательное оборудование для перемещения изделий в процессе выполнения сварки, крепления и перемещения сварочных аппаратов; инструмент сварщика. Кроме того, при сварке используют различные транспортные средства, приборы для контроля качества сварного соединения и т. п. Техническая характеристика С. о. определяется выбранным способом сварки, характером производства и степенью механизации процесса (ручная, полуавтоматическая или автоматическая сварка).Сварочный пост — участок производственной площади, на котором размещены источник тока, токопровод, необходимые технологические приспособления и инструменты сварщика. Для защиты окружающих от излучения участок огорожен шторами или щитами. В условиях современного производства широко распространены автоматизированные установки (рис.1). Такие стационарные посты размещают в цехе. В полевых условиях, для сварки крупногабаритных изделий, на строительстве, при выполнении ремонтных работ и т. п. организуют передвижные посты.
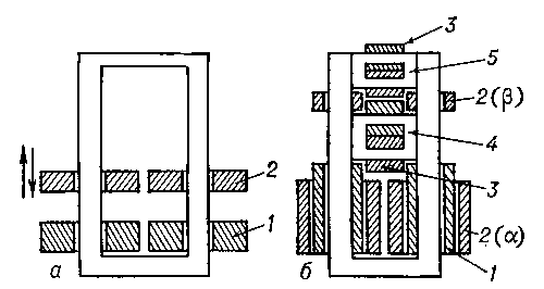
Сварочные аппараты и машины. В сварочные посты и установки входят источники питания и аппараты для регулирования горения сварочной дуги (См. Сварочная дуга) в процессе сварки. Для выполнения сварки применяют источники питания, которые имеют удобную, плавную или ступенчатую регулировку и удовлетворяют общим требованиям для электрических машин и аппаратов. При электросварке используют сварочные трансформаторы, генераторы и выпрямители; при газопламенной обработке (См. Газопламенная обработка) — газовые генераторы. Различают источники питания одно- и многопостовые, стационарные (длительная непрерывная работа) и малогабаритные переносные (непродолжительная работа). Сварочный трансформатор служит для согласования параметров сварочной и питающей цепей, а также выполняет функции регулятора. При дуговой сварке применяют механические и электрические способы регулирования напряжения. При механическом регулировании (рис. 2, а) изменяют, например, расстояние между первичными и вторичными обмотками. Электрическое регулирование (рис. 2, б) осуществляют изменением токов управления в дополнительных обмотках, расположенных на верхнем и среднем ярме трансформатора. При этом вторичная обмотка разделена на две части (α и β), одна из которых (β) расположена в верхнем окне трансформатора. При одном и том же коэффициенте трансформации такой трансформатор может иметь различные значения напряжения холостого хода, что необходимо при настройке режима сварки. Для контактной электросварки (См. Контактная электросварка) применяют сварочные трансформаторы с минимальным сопротивлением короткого замыкания. Их вторичная обмотка имеет обычно 1 или 2 витка. Изменение вторичного напряжения достигается переключением части витков первичной обмотки.Сварочный генератор — специальная электрическая машина постоянного тока или тока повышенной частоты. Применяют однопостовые генераторы — универсальные или с падающей внешней характеристикой, которая обеспечивает устойчивое горение сварочной дуги. В сварочной технике используют генераторы: поперечного поля, с расщепленными полюсами, с размагничивающей последовательной обмоткой. У сварочного генератора поперечного поля (рис. 3, а) короткозамкнутая обмотка cd якоря создаёт поперечный магнитный поток Фп. Падающая характеристика образуется в результате действия продольного размагничивающего потока якоря Фпр. У генератора с размагничивающей последовательной обмоткой (рис. 3, б) внешняя характеристика формируется взаимодействием магнитных потоков Фр (размагничивающей последовательной обмотки) и Фв (намагничивающей параллельной обмотки). Напряжение на намагничивающую обмотку подаётся от третьей щётки или от самостоятельного источника питания (при т. н. независимом возбуждении).
Сварочный выпрямитель — преобразователь переменного напряжения питающей сети в постоянное, имеющий падающую, жёсткую или регулируемую внешнюю характеристику. Выпрямитель состоит из трансформатора, блока, полупроводниковых вентилей, системы автоматического управления, дросселя электрического (См. Дроссель электрический), коммутационной аппаратуры. Регулирование преобразователей осуществляется трансформаторами или управляемыми вентилями. Газовый генератор — аппарат для получения горючих газов. Чаще в газовых генераторах производят ацетилен из карбида кальция путём взаимодействия его с водой (см. Генератор ацетиленовый). Сварочный автомат для дуговой сварки — комплекс механизмов и приборов (рис. 4), с помощью которых осуществляется механизация процесса выполнения сварного соединения: подача электродной проволоки, зажигание сварочной дуги, поддержание заданного режима сварки и прекращение процесса. В таких установках используют головки с независимой скоростью подачи проволоки, в которых поддержание дугового процесса основано на саморегулировании дуги, и с автоматическим регулированием скорости подачи проволоки в зависимости от напряжения дуги. Взамен сложных установок для автоматической сварки часто применяют сварочные тракторы (См. Сварочный трактор) — переносные самоходные автоматы. Существуют сварочные автоматы и самостоятельные подвесные головки, осуществляющие электросварку одним или несколькими электродами. Электроды могут быть подключены к общему источнику питания или к самостоятельным источникам. Применяются также аппараты для сварки неплавящимся угольным или вольфрамовым электродами (рис. 5). Сварочный полуавтомат, или шланговый полуавтомат, — аппарат для дуговой сварки, в котором механизирована подача электродной проволоки, а перемещение горелки вдоль свариваемых кромок осуществляется вручную. Имеются полуавтоматы для сварки неплавящимся электродом с механизированной подачей присадочной проволоки, которая проталкивается через гибкий направляющий шланг или подаётся с катушки механизмом, встроенным в горелку. Сварочными полуавтоматами осуществляют сварку в защитных газах (См. Сварка в защитных газах), сварку открытой дугой и сварку под флюсом (См. Сварка под флюсом). Механизм подачи проволоки и горелка, находящаяся в руке сварщика, соединены между собой гибким шлангом (направляющим каналом), по котором у в зону горения дуги подаётся электродная проволока и подводятся сварочный ток, флюс и защитный газ. Часть сварочного аппарата (автомата, полуавтомата), обеспечивающая подвод электрического тока к электроду и газа в зону дуги, или устройство, применяемое при газовой сварке (См. Газовая сварка) для регулирования сварочного пламени, называется сварочной горелкой (См. Сварочная горелка).Автомат для электрошлаковой сварки (рис. 6) конструктивно отличается от автоматов для дуговой сварки, т. к. при этом виде сварки свариваемые кромки занимают вертикальное положение. Существуют автоматы, перемещающиеся по рельсу или непосредственно по кромкам свариваемой детали. Кроме самоходного механизма для вертикального движения, автомат снабжен двумя ползунами, предназначенными для удержания сварочной ванны и формирования шва, и механизмом колебания электродов вдоль зеркала ванны.
Технологические приспособления, используемые сварщиком, служат для сборки деталей под сварку и фиксации их; для сварки заранее собранных деталей; для совмещения операции сборки и сварки. В зависимости от характера производства приспособления изготовляют универсальными или специализированными (для определённых изделий). Одну деталь к другой прижимают винтовыми, рычажными, эксцентриковыми, магнитными и др. зажимами. Их используют для соединения отдельных деталей (переносные зажимы) и для оснащения сварочных стендов. Для фиксации свариваемых деталей иногда используют прихваты, присоединяемые к свариваемым деталям временными короткими швами. Для сближения или разведения свариваемых кромок или фиксации их положения служат стяжки, распорки и домкраты. Сборку и сварку изделий осуществляют на универсальных и специализированных стендах. Фиксаторы (упоры, пальцы, штыри, шаблоны) служат для определения положения свариваемых деталей относительно всего приспособления. К технологической оснастке стендов относятся также флюсоудерживающие устройства, флюсовые и газовые подушки, устройства для принудительного формирования шва и др.
Вспомогательное оборудование сварочных установок. Сварочные установки компонуются из элементов, предназначенных для расположения изделия в наиболее удобном для сварки положении, для поворота его во время работы и обслуживания зоны сварки, а также для крепления и перемещения сварочных аппаратов. С целью установки изделий в удобном для работы положении применяют роликовые, цевочные, цепные, цапфовые, рычажные кантователи (рис. 7). Поворот свариваемого изделия вокруг оси осуществляют вращателями с вертикальной, наклонной или горизонтальной осями вращения. Изделия закрепляются и поворачиваются с помощью планшайбы или поводка (центровые вращатели) или роликами (роликовые). При сварке цилиндрических изделий часто применяют роликовые стенды-вращатели (см. рис. 1) обычно с обрезиненными приводными роликами. Для вращения изделия в процессе сварки вокруг оси, занимающей различные положения в пространстве, служат установочные и сварочные манипуляторы. Для крепления и перемещения сварочных автоматов и полуавтоматов, подвески аппарата над подвижным свариваемым изделием или перемещения аппарата вдоль шва или от шва к шву применяют различные устройства, например балку с платформой, рельсовые пути, специальные грузозахватные приспособления.
Инструмент сварщика: электродержатели для сварки штучными электродами, горелки, зачистной инструмент (молотки-шлакоотделители, пневмомолотки, проволочные щётки, шлифовальные машины и др.), пригоночный инструмент для подгонки соединяемых деталей; инструмент для перемещения и кантовки горячих деталей; инструмент для наладки сварочного и технологического оборудования; измерительный инструмент (штангенин-струмент, микрометрический и др.). Сведения об оборудовании для специальных способов сварки (контактной, ультразвуковой, диффузионной и др.) см. в статьях об этих способах сварки.
Лит.: Сварочное оборудование. Каталог-справочник, ч. 1—3, К., 1968—72; Гитлевич А. Д., Этингоф Л. А., Механизация и автоматизация сварочного производства, М., 1972; Бельфор М. Г., Патон В. Е., Оборудование для дуговой и шлаковой сварки и наплавки, М., 1974; Севбо П. И., Комплексная механизация и автоматизация сварочного производства, К., 1974; Чвертко А. И., Тимченко В. А., Установки и станки для электродуговой сварки и наплавки, К., 1974.
М. Г. Бельфор, И. И. Заруба, В. Н. Троицкий.

Рис.1. Установка для дуговой автоматической сварки: 1 — сварочный аппарат; 2 — свариваемое изделие; 3 — шкаф с аппаратурой управления; 4 — источник тока; 5 — провода управления; 6 — токопровод; 7 — рельсовый путь; 8 — тележка с колонной; 9 — роликовый стенд; 10 — площадка обслуживания.

Рис. 2. Схема сварочного трансформатора для дуговой сварки: а — с механическим регулированием индуктивного сопротивления и напряжения; б — с электрическим регулированием; 1 и 2 — первичная и вторичная обмотки; 3 — обмотка управления; 4 и 5 — среднее и верхнее ярмо.

Рис. 3. Схема сварочного генератора: а — поперечного поля; б — с размагничивающей последовательной обмоткой.
Рис. 4. Сварочный автомат для дуговой сварки: 1 — флюсоотсос; 2 — сварочная головка; 3 — механизм подачи с редуктором; 4 — механизм подъема; 5 — ходовой механизм; 6 — флюсоаппарат; 7 — рельсовый путь; 8 — подающий ролик; 9 — мундштук; 10 — воронка для флюса.

Рис. 5. Сварочный автомат для электросварки неплавящимся вольфрамовым электродом с подачей присадочной проволоки: 1 — горелка; 2 — катушка; 3 — механизм подачи; 4 — направляющий шланг; 5 — наконечник; 6 — прижимной ролик.

Рис. 6. Автомат рельсового типа для электрошлаковой сварки проволочными электродами: 1 — направляющий рельс-колонна, закрепляемый на изделии; 2 — передний и задний ползуны; 3 — токопроводящие мундштуки с электродами; 4 — пластина для крепления заднего ползуна; 5 — изделие; 6 — пульт управления; 7 — механизм горизонтальной подачи.

Рис. 7. Кантователи: а — роликовый; б — цевочный; в — цепной; г — цапфовый; д — рычажный.
